要闻 正文
宗馥莉接班未了局:娃哈哈职工持股会股东诉讼维权
来源: 中国工业新闻网 2024-09-03 19:53
分享到:

中国工业报   韩永先

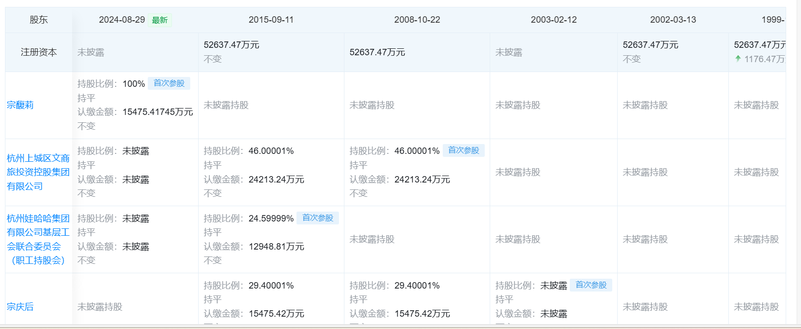
天眼查信息显示,2024年8月29日,杭州娃哈哈集团有限公司(以下简称“娃哈哈集团”)发生工商变更,宗庆后卸任法定代表人,娃哈哈集团法定代表人、董事长兼总经理三职均由宗馥莉接任,持股比例29.4%。同时,余强兵、张晖、吴建林等多名娃哈哈集团原高管退出董事、监事职务,新增叶雅琼、费军伟等为董事,王国祥为董事兼副总经理。

从此前宗馥莉辞职风波,到重组董事会,备受瞩目的娃哈哈集团接班之争看似终于尘埃落定,但中国工业报独家了解到,娃哈哈集团内部股权纷争依旧“硝烟”弥漫。

转签劳动合同引发职工不满

中国工业报独家获悉,日前,娃哈哈集团几十名员工发起集体诉讼维权已进入司法程序,坐等法院正式受理。

多位娃哈哈集团前员工和内部职员向中国工业报爆料称,因为娃哈哈集团近期要求员工重新签署劳动合同、以较低价格回收员工持股会股权,致使娃哈哈集团职工权益受到损害,不得不自发成立维权会,依法拿起法律武器保护自身权利,目前已正式提起了法律诉讼。

娃哈哈集团员工维权委员会(简称“娃哈哈维权会”)告诉中国工业报,近期娃哈哈员工劳动合同被要求改签宏胜饮料集团,并取消“干股分红”,造成员工权益严重受损;同时,杭州萧山顺发食品包装有限公司(以下简称“萧山顺发”)近日突发的股权变更,更是影响到了娃哈哈集团员工的切身投资收益。

萧山顺发是娃哈哈集团旗下重要的投资主体之一,杭州娃哈哈集团有限公司基层工会联合委员会(以下简称“娃哈哈集团职工持股会”)则是萧山顺发的重要股东之一。此前,娃哈哈集团职工持股会背后的娃哈哈集团员工可分享来自萧山顺发的高额投资收益。

天眼查等工商登记信息以及哇哈哈集团员工透露,2024年8月16日,娃哈哈集团职工持股会在萧山顺发的股权竟然以零元价格被全数转移到宗馥莉个人名下。因此,娃哈哈集团职工质疑,娃哈哈集团职工持股会现今究竟被何人控制,如何做出这一转股决定,是否经过了合法的程序,转让价格为什么是零元。

中国工业报调查核实信息显示,宗馥莉此次正式接任娃哈哈集团之前,娃哈哈集团的股东主要有三个,分别为原董事长宗庆后持股29.40001%,杭州上城区文商旅投资控股集团有限公司(以下简称“杭旅控股”)持股46.00001%,娃哈哈集团职工持股会持股24.59999%。

杭州娃哈哈集团目前股权结构

而天眼查显示,8月29日娃哈哈集团工商信息变更后披露的持股情况,仅有宗馥莉29.4%股权,杭旅控股和娃哈哈集团职工持股会的持股情况并未披露,是否正在发生变更,目前尚无确定信息。

中国工业报从娃哈哈集团内部了解到,娃哈哈维权会反映的股权回购、改签劳动合同、股权变更、股权回购、集体诉讼等事项均是事实,目前娃哈哈集团正在全力应对。

员工维权起诉娃哈哈集团

中国工业报掌握的信息显示,目前已经有几十名娃哈哈集团员工向法院提起了诉讼,其中有离职的,也有在职的,甚至还包括十余位娃哈哈集团创业元老。同时,娃哈哈维权会也已成立。

在这些诉讼中,娃哈哈集团员工一方面要求确认2018年的股权回购行为无效,重新确认职工在持股会中的股份,同时要求职工持股会、宗馥莉对于2018年员工股权回购行为做出进一步解释和说明,包括回购资金来源、回购价格等。

另一方面,有部分员工对职工持股会历史分红计算、萧山顺发股权被零元处置提出强烈质疑,也已通过诉讼方式向职工持股会、宗馥莉追讨损失。

杭州娃哈哈集团股权变更信息

知情人透露,娃哈哈集团股权纷争背后另一个值得深思或备受关注的还有娃哈哈集团国资股东的权益是否受到侵害的问题。娃哈哈集团职工向中国工业报透露,2018年2月之后,娃哈哈集团职工收到的分红款并非职工持股会发放,而是由娃哈哈集团发放。如前所述,娃哈哈集团第一大股东是杭旅控股,该发放模式是否导致娃哈哈集团利润减少,进而影响国资保值增值,也值得进一步调查。

据相关维权人员向中国工业报反馈,引起以上诉讼案件直接的导火索为:2024年8月份开始,娃哈哈集团员工陆续被要求终止与娃哈哈集团的合同,转而改为与娃哈哈体系外由宗馥莉控制的宏胜饮料集团签订劳动合同,改签劳动合同以后,员工在娃哈哈集团享有的“干股分红”待遇被彻底取消,众多员工十分担心自己的未来收入也没法得到保障。

尽管员工们对劳动合同改签要求颇有疑虑和抗拒,但迫于各种压力,已经有不少员工与宏胜饮料集团签订了劳动合同,完成了身份“转换”。但更多的员工则通过各种形式明确表达了支持和参与维权活动,希望维护自身合法权益。

至于另一条导火索,则可能是娃哈哈集团职工持股会疑似以非公允价格处置了萧山顺发股权。近日,随着宗馥莉全面接手宗庆后卸去的法定代表人、董事长兼总经理职务以及股权,其管理及经营方式也或多或少引起该部分职工质疑和不满。

六年前的股权回购疑云

基于上述种种不满,娃哈哈集团职工们纷纷发声,甚至开始追溯六年前的股权回购。中国工业报从爆料人处了解到,2018年2月前后,在娃哈哈集团疑似与部分员工们没有充分沟通的情况下,娃哈哈集团出台政策,“回购”了员工股份,转而实行“干股”制,即员工们手中不再有白纸黑字的出资证明和实实在在的股份,而只有一个随时可变动的干股数字。

娃哈哈维权会相关负责人向中国工业报表示,回购对价应当是股份本身的价值,无论如何不可能低于持股会历年积存下来的未分配利润。此前长达近二十年,娃哈哈集团员工持股会每年的分红都稳定在0.8元/股,但娃哈哈集团2018年推出的回购方案条件则是“2元特别分红加1元股本”,即以每股3元价格回购员工持股,这3元/股的回购对价是否就是娃哈哈集团职工持股会历年累积未分配利润的全部,娃哈哈集团却从未公开过账目,员工们也不得而知。同时,这笔回购款本来就应该是职工持股会职工可享受的分红,相当于用员工自己的钱买了自己的股份,更没有考虑任何股权溢价。因此,当娃哈哈集团提出以职工持股会名义把员工手中的股份“回购”时,很多员工并不满意。

参与此次维权的娃哈哈集团个别员工甚至明确提出,当年他们就对娃哈哈集团的“回购”行为强烈质疑,因为他们并不清楚娃哈哈集团职工持股会从1999年改制以来到底积累了多少资本,回购资金又来自哪里。2018年那次“回购”和“干股”改革时也没有人对职工持股会积累收益和股权价值进行过任何审计或评估,他们完全是在不透明的状态下被迫接受了“回购”。他们希望通过维权,对当年职工持股会回购款来源以及回购价格弄个明白,能有一个官方的、合理的解释。

法律从业人士向中国工业报分析称,公司回购员工股权的行为本身没有错,但是要在合法合理的前提下进行。2018年娃哈哈的员工股权回购,从法理上有两个疑点:一是用于回购的资金,是否侵占了本属于员工的历史累计分红款;其二则是回购价格是否公允,在过往每年至少可分配0.8元/股的基础上,考虑到未来的持续获利可能,公司仅按股权出资“2元特别分红加1元股本”方式回购,是否涉嫌对员工股权的低估。

中国工业报获悉,目前由娃哈哈维权会发起的此次“股权”诉讼,已经得到了更多员工响应,维权队伍也在持续扩大,并且得到了各方面的广泛支持。

娃哈哈集团维权员工也同时呼吁,娃哈哈集团创立发展至今,一直得到浙江省市区等各级政府部门的关怀和支持,娃哈哈的品牌和产品也深受全国人民的喜爱,而数万名娃哈哈员工,也通过“职工持股会”实现了对娃哈哈集团的间接持股而获益,是助力共同富裕的“混合所有制样本”。因此,尽管对宗馥莉目前的管理方式以及经营方式有所质疑,娃哈哈全体员工仍需要坚守岗位,确保公司能平稳运行。

娃哈哈维权委员会在给全体娃哈哈人的一封信中也强调,娃哈哈是识大局、有纪律的,希望大家在维权过程中一切行动都要合法、合理,切勿采取过激行动,避免造成不必要的社会负面影响,损害娃哈哈的形象。

对此次娃哈哈集团的劳动合同转签、萧山顺发股权被零元处置、“员工股权权属”维权相关起诉事件,中国工业报将持续关注。

作者:韩永先
【编辑:闻育旻】