近日,刚刚换了新手机的资深球迷小李遇到了麻烦。在下载好过去看球时常用的“懂球帝”App后,小李发现他的账号出问题了。使用手机号登录后,明明使用了7年多的账号变成了新注册的“1天新人”,发言记录和收藏的内容也不见了,这让小李非常失落。
小李新下载的开发者为厦门懂球帝在外观和界面上与“懂球帝”相似,但是在特定的文章、数据等页面,并不像之前的懂球帝那样清晰详尽,感觉到不对劲的小李打开微博和小红书等平台搜索,发现自己的情况并不是个例:市面上好像不只有一个懂球帝,有人的手机上甚至安装了三个“懂球帝”。

据记者观察,过去2个月里,多个活跃的球迷群常有人因更换手机或其他原因发现自己无法下载懂球帝,纷纷向群友求助。
有人在其中嗅到了商机。淘宝、咸鱼等交易平台上,出现了大量交易旧版懂球帝安装服务的信息。
记者在调查中发现,目前在苹果和安卓的应用商店中,确实有不止一个懂球帝版本,除了logo略有不同的两款“懂球帝”之外,还出现了“懂球弟”、“懂球帝Pro”等不同版本的App。
不同手机应用程序使用同样的名字和商标logo,这是允许的吗?这还要从上半年的一次商标拍卖说起。
今年4月,厦门傲播网络科技有限公司通过司法竞拍竞得懂球帝系列共40个商标,该公司同时还在运营一款同类型产品——直播吧,它与懂球帝是竞品关系。懂球帝的商标为什么会被竞拍?据悉,懂球帝的运营方北京多格科技有限公司与投资方天星资本在债务方面存在纠纷,双方因此对簿公堂,最终导致北京多格公司拥有的一系列商标被司法拍卖。
这一事件对普通球迷的影响在两个月后到来,在今夏欧洲杯开幕后不久,厦门傲播公司使用竞得的商标在手机应用市场上架了名称、logo与懂球帝相同的厦门“懂球帝”的App,球迷们的困惑自此而始。在不久后,懂球帝被应用市场下架,但很快又出现了懂球弟、懂球帝Pro等名称高度近似的App。适逢欧洲杯进入到白热化阶段,球迷用户对获取足球资讯的需求激增,但他们在应用市场下载时却要迷惑很久,不知道哪个懂球帝才是“正版”。
经过下载使用我们发现,懂球弟、懂球帝Pro都是北京多格公司推出的,内容、用户账号也一脉相承,而厦门“懂球帝”是直播吧方面利用拍得的懂球帝商标,使用相同的Logo和相似的界面,“换皮”上线的一款APP,其内容还是直播吧的内容。也正是因此,不少球迷在Appstore吐槽无法登录账号、许多过去使用的功能缺失。
记者在网上搜索相关信息时发现,许多用户对于厦门懂球帝、懂球帝、懂球弟之间的关系也充满了疑惑。有人抱怨厦门懂球帝并不好用,不是自己想要找的懂球帝。
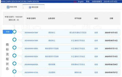
对于两家公司而言,“商战”已经持续了半年的时间,看起来似乎还没有短时间解决的希望。根据公开资料显示,懂球帝相关商标于4月26日的司法拍卖由厦门傲播公司竞得。照理说,过户早就应该完成,然而国家知识产权局查询到的公开信息(截至2024年10月16日)显示,懂球帝系列多个商标的归属仍是北京多格公司,厦门傲播公司在竞得有关商标后曾提出转让申请,但一直没有完成,最新状态显示为“视为放弃通知打印发送”。


笔者从懂球帝的运营公司北京多格公司方面了解到:为了理清商标的权属问题,公司早在6月中旬就向一中院提请了异议,但截止目前4个月过去了,公司仍在等待结果。
懂球帝商标到底应该归属于谁?多个“懂球帝”扎堆的乱象何时才能结束?我们暂时无法从公开的信息中获得准确的答案。无论赢家是谁,这次风波对于广大球迷用户、乃至整个行业的伤害是巨大的。
昔日王老吉和加多宝为了商标和“正宗凉茶”的归属对簿公堂,两家企业都收到了巨大影响,导致市场规模一度超过可乐的凉茶行业遭受巨大打击。如今中国足球正值多事之秋,如果市场的混乱状态迟迟不能扭转,对于球迷热情和中国足球也会是巨大的伤害。
希望“懂球帝”和“厦门懂球帝”之间的矛盾可以尽快解决,还市场一个稳定的秩序,减少球迷用户在商业纠纷中自身受到的影响。
客户端
媒体矩阵
企业邮箱