近日,一家名为“贵州科比酒业”的公司宣称将推出多款科比酱酒(KEBIWINE):科8、科20和科24。

“不会被告吧?”“和人家家人谈过了?”在贵州科比酒业的官方抖音账号下,不少网友发出疑问。
4月24日,上海证券报记者以酒商的身份联系上了贵州科比酒业法定代表人于永洋。他表示,在商标上,酒水和体育不属于一个大类,因此不会受到影响。
“我们所有的资质都是合规合法的。我们做的不是体育类目,是食品类目。我们的工商注册,包括知识产权都是合规合法的,都是齐全的。”贵州科比酒业分销业务负责人称。
对此,上海融力天闻律师事务所高级合伙人江璐接受上海证券报记者采访时表示,贵州科比酒业有限公司的相关行为极有可能构成侵权。
“‘科比’作为已故篮球巨星的姓名,其人格权当中的姓名权虽然在其死亡时已经终止享有,但科比的姓名具有极大的商业价值,其后人仍可享受该姓名权所延伸出的财产性利益。所以贵州科比酒业有限公司的相关行为涉嫌损害科比姓名权所延伸出的财产性利益。”江璐说。
科比酱酒将“问世”
近日,一个名叫“贵州科比酒业”抖音号注册成功。该抖音号发布的推广视频中显示,贵州科比酒业将推出三款科比酱酒:科8、科20和科24。
从推广视频中可以看出,科比酱酒的瓶身设计为科比球衣造型。而8号和24号是科比生前所穿的球衣号码。

“酒瓶的外观造型已经申请了专利。”于永洋在电话中表示。
据介绍,贵州科比酒业将在5月份上市两款酱酒:科8和科24,礼盒装(2瓶),主要面向线上销售,价格为398元。此外还有一款纪念酒科20,代表着科比职业生涯二十年,在京东上的标价为800多元。
“这个酒我们筹备了快2年了,也咨询了法务和律师团队,前前后后做了充分的准备。”上述业务负责人表示。
已申请多枚商标
天眼查信息显示,贵州科比酒业有限公司成立于2023年8月,注册资本1000万元人民币,法定代表人、执行董事兼总经理为于永洋,经营范围含酒类经营、食品互联网销售、个人互联网直播服务、市场营销策划等。
股东信息显示,该公司由于永洋、于海洋分别持股99%、1%。
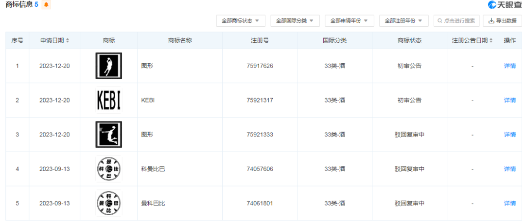
知识产权信息显示,该公司曾申请注册5枚“KEBI”“科曼比巴”“曼科巴比”及图形商标,国际分类均为酒类。其中,“KEBI”及图形商标状态为初审公告,其余商标申请为驳回复审中。

“国家知识产权局对‘KEBI’及图形商标予以初审公告,是国家知识产权局在进行实质审查后做出的决定。该商标在3个月的初审公告期内,相关利害关系人可以提出商标异议申请。如在初审公告期未提出异议申请的,则公告期满后,该商标将很有可能获得注册。”江璐称。
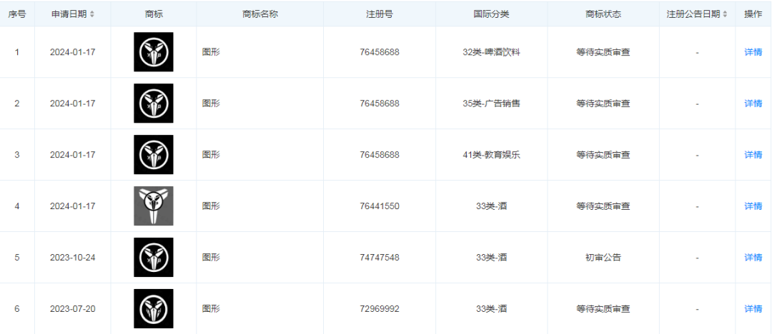
此外,贵州科比酒业有限公司的关联公司——南京新网视购供应链管理有限公司亦申请了多个图形商标,与Nike公司为科比定制的logo颇为相像。
天眼查信息显示,南京新网视购供应链管理有限公司法定代表人为于海洋,持股占比45%,其余55%股份由于永洋持有。

江璐认为,贵州科比酒业有限公司和其关联公司将与科比(KOBE)近似的姓名“KEBI”、“曼科巴比”、“科曼比巴”,以及将与“黑曼巴”蛇头近似的图形标记、“KB”字母等标识在多个类别上作为商标进行申请,同时在宣传中以“科比酱酒,致敬传奇”、“科比酱酒,曼巴精神”等标语,与科比建立对应关系,实际上是借用科比的姓名权所延伸出的财产性利益获取不正当利益的行为。
请输入验证码